Post76玩樂網
  • 首頁
  • 論壇
    • 最新熱門
    • 最新回復
    • 最新發表
    • 最新精華
    • 我的帖子
  • 新聞
    • 頭條新聞
    • 76-FriendClub會訊
  • 資訊
    • 投影機資訊
    • 電視資訊
    • Soundbar資訊
    • 音響資訊
    • AV擴音機資訊
    • 喇叭組合資訊
    • 耳機隨身聽
    • 電玩打機
    • 電腦週邊
    • 攝影資訊
    • 生活玩樂
    • 商務資訊
  • 評測
    • 4K/8K電視
    • 4K 影像播放器
    • AV擴音機
    • Soundbar
    • 耳機/個人音響
    • 喇叭組合
    • CD/Music Streamer 串流播放機
    • 兩聲道前級/擴音機
    • 短投/投影機
    • 影音配件
    • 影音線材
    • 藍光碟/串流影評
    • 電影新聞
    • 音樂品評
    • 手機評測
  • 音樂
    • 音樂分享會
    • 音樂專訪
    • 音樂品評
  • 專題
    • 專題報道
    • 家訪報導
    • 香港影音店鋪推介
    • 智能家居資訊
    • Denon呈獻 : 數碼新時代
    • Onkyo呈獻 : 潮玩影音教室
    • Marantz專區 : Modern Music Luxury
    • Sony Hi-Res Audio 呈獻 : 原音星級教室
    • Onkyo呈獻 : 愛泳兒 Love Fever 音樂會
    • Cambridge Audio帶您 – 英倫影音朝聖之旅
    • 情義兩難全之KB真人騷 ‘我又是歌手’
    • Sony Xperia 呈獻 : 極!玩樂派對音樂會
    • Pretty Beauty
    • DES香港影音玩樂展
  • 教學
  • 活動
  • 網店
  • 關於我們
  • ※三星玩樂專頁※
Reading: 傳聞 Apple 或研發可觸控 iPhone 保護殼
Share
Post76玩樂網
  • 首頁
  • 論壇
    • 最新熱門
    • 最新回復
    • 最新發表
    • 最新精華
    • 我的帖子
  • 耳機
    • 耳機資訊
    • 耳機測評
  • 喇叭
    • 喇叭組合測評
    • 喇叭組合資訊
    • 無線喇叭測評
  • 音樂
    • 音樂分享會
    • 音樂品評
    • 音樂專訪
    • Music76音樂資訊
    • Onkyo呈獻 : 愛泳兒 Love Fever 音樂會
    • Sony Xperia 呈獻 : 極!玩樂派對音樂會
  • 影音
    • 影音專題
      • Cambridge Audio帶您 : 英倫影音朝聖之旅
      • Denon呈獻 : 數碼新時代
      • Marantz專區 : Modern Music Luxury
      • Onkyo呈獻 : 愛泳兒 Love Fever 音樂會
      • Onkyo呈獻 : 潮玩影音教室
      • PAF個人音響展
      • Sony Hi-Res Audio 呈獻 : 原音星級教室
    • 影音測評
      • 電視
      • AV擴音機
      • CD/Music Streamer 串流播放機
      • Soundbar
      • 兩聲道擴音機
      • 喇叭組合
      • 影像播放器
      • 影音線材
      • 影音配件
      • 投影機
      • 無線喇叭
      • 耳機隨身聽
    • 影音學堂
    • 影音資訊
      • 電視資訊
      • 音響資訊
      • AV擴音機資訊
      • Soundbar資訊
      • 喇叭組合資訊
      • 投影機資訊
      • 耳機資訊
    • 藍光碟評
    • 香港影音店鋪推介
  • 手機
    • 手機測評
    • 手機資訊
  • 電玩
    • 電玩資訊
    • 遊戲資訊
    • 電腦週邊資訊
  • 相機
    • 攝影資訊
  • 電影
    • 藍光碟評
    • 電影新聞
  • 其他
    • 所有文章
    • 頭條新聞
    • 活動報導
    • 今期熱話
    • 生活玩樂
    • 家訪報導
    • 商務資訊
    • CES 美國電子消費展
    • 智能家居資訊
    • Pretty Beauty
    • 76-FriendClub會訊
    • DES香港影音玩樂展
    • 情義兩難全之KB真人騷 “我又是歌手”
  • 三星玩樂專頁
Reading: 傳聞 Apple 或研發可觸控 iPhone 保護殼
Share
Post76玩樂網Post76玩樂網
Font ResizerAa
  • 論壇
  • 耳機
  • 喇叭
  • 音樂
  • 音響
  • 電視
  • 手機
  • 電玩
  • 相機
搜尋Post76
  • 首頁
  • 論壇
    • 最新熱門
    • 最新回復
    • 最新發表
    • 最新精華
    • 我的帖子
  • 耳機
    • 耳機資訊
    • 耳機測評
  • 喇叭
    • 喇叭組合測評
    • 喇叭組合資訊
    • 無線喇叭測評
  • 音樂
    • 音樂分享會
    • 音樂品評
    • 音樂專訪
    • Music76音樂資訊
    • Onkyo呈獻 : 愛泳兒 Love Fever 音樂會
    • Sony Xperia 呈獻 : 極!玩樂派對音樂會
  • 影音
    • 影音專題
    • 影音測評
    • 影音學堂
    • 影音資訊
    • 藍光碟評
    • 香港影音店鋪推介
  • 手機
    • 手機測評
    • 手機資訊
  • 電玩
    • 電玩資訊
    • 遊戲資訊
    • 電腦週邊資訊
  • 相機
    • 攝影資訊
  • 電影
    • 藍光碟評
    • 電影新聞
  • 其他
    • 所有文章
    • 頭條新聞
    • 活動報導
    • 今期熱話
    • 生活玩樂
    • 家訪報導
    • 商務資訊
    • CES 美國電子消費展
    • 智能家居資訊
    • Pretty Beauty
    • 76-FriendClub會訊
    • DES香港影音玩樂展
    • 情義兩難全之KB真人騷 “我又是歌手”
  • 三星玩樂專頁
Follow US
© 2023 Post76.hk. All Rights Reserved.
今期熱話玩樂資訊生活玩樂電視資訊

傳聞 Apple 或研發可觸控 iPhone 保護殼

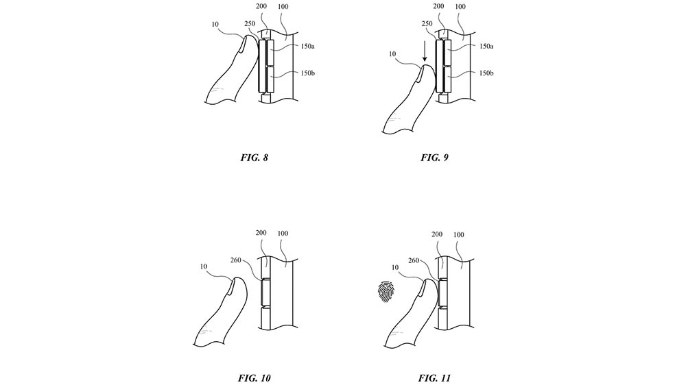
智慧型 iPhone 保護殼主要針對未來的 iPhone Pro 系列而設。表面採用電容及壓力感應技術,除了提供一般保護,更可充當額外輸入層。

Edita
Edita
Published: 2025年12月2日
Tags: 手機 科技
Share
  • 文章討論帖

或正在開發

中國微博消息透露,Apple 或正開發一款具備互動觸控功能的智慧保護殼,定位為未來 iPhone Pro 系列而設。除了提供基本防護,更結合電容與壓力感測技術,讓 iPhone 在連結保護殼後,可把音量調整、相機啟動或快捷指令等操作,轉移到殼體側邊的觸控區域,減少對實體按鍵的依賴。用家或可透過輕觸、滑動或按壓手勢,快速開啟手電筒、調整音量或控制播放,毋須觸碰螢幕。

示意圖

或為紀念版而設

這項設計方向與傳聞中蘋果為 20 週年紀念版 iPhone 推動的全環繞式顯示器呼應。隨着顯示面積進一步延伸,實體按鍵可能再被淡化,觸控式保護殼則成為補足操作邏輯的重要配件。

專利文件公開雛形

據悉,Apple 於 2024 年提交的專利《具輸入功能的電子裝置保護殼》已顯示其技術雛形。當 iPhone 裝入殼體後,系統會自動識別並把按鍵操作重新導向至殼體表面,形成一套全新的輸入層。殼體與手機之間或會透過 NFC 等方式進行識別與訊號交換,更進一步的版本甚至預留把 Touch ID 集成於保護殼上的可能性,用以進行解鎖或啟動特定功能。

您可能也喜歡

【音響熱話】簡單自建歌庫 !!! Synology NAS 入手一問
Post76 x Sony 原音 Hi-Res 音樂祭表演女團 V-Project 專訪
夏日冷凍益玩家 : 買 OPPO 藍光機送發燒冷凍線材
華納音樂收購金牌大風
Previous Article Epson 推出 EH-LS670 4K 超短距家用鐳射投影機
Next Article AME Custom Igris 旗艦混合單元耳機登陸香港

粉絲團

71k Like
4.6k Follow
114k Subscribe
banner banner
DENON 日系靚聲
一屋好聲音 DHT-S517 3.1.2 聲道 杜比全景聲 Soundbar
了解更多

最新文章

Sarah開箱 | $1,499 值得入手嗎?Shure MV88 USB-C 收音咪實測:專訪、Vlog、立體聲全方位應用!手機拍片收音救星?
影音報告 手機評測 攝影資訊 玩樂資訊 頭條新聞
Sony 官網意外流出:新旗艦 WH-1000XX 或於 5 月登場,主打 10 週年紀念系列
玩樂資訊 耳機隨身聽
2.1 才是 Hi-Fi 的終極型態?Audiovector QR Sub SE 實測:讓低音徹底消失的藝術!竟然影音分家一隻攪掂?
喇叭組合 影音報告 頭條新聞
🔱不只是耳擴!🎧 Lotoo PAW Gungnir 旗艦級桌面解碼耳擴一體機… 梗係接駁座地喇叭玩埋兩聲道啦!🔊 必要知的隱藏功能 🚀
影音報告 耳機隨身聽 頭條新聞

熱門推薦

Motorized Wall Mount

Pioneer 旗艦 BD 機 LX-91 … 是如何的美??

JVC 2011 HD Everio全高清記憶咭攝錄機系列

【家訪】令人驚喜的「阿星」影音

//

擁有超過六萬名會員的線上影音媒體,提供最新的市場資訊,是所有對影音娛樂產品感興趣的朋友們自由交流的平台。

關於我們 >

熱門內容

  • 玩樂資訊
  • 新聞Hot
  • 資訊
  • 測評
  • 音樂

熱門話題

  • 專題
  • 教學
  • 活動New
  • 論壇

聯絡我們

  • 一般查詢:[email protected]
  • 市場推廣:[email protected]
  • 廣告查詢:[email protected]
  • 網站事宜:[email protected]
  • Whatsapp查詢:95509568
Post76玩樂網Post76玩樂網
Follow US
© 2023 Post76.hk. All Rights Reserved.
Welcome Back!

Sign in to your account